近期水泥人網一直在跟蹤報道水泥質量萬里行組委會動態,也有跟隨組委會的腳步走進市場一線,了解一線市場的情況。據查詢近期組委會公布的市場抽檢不合格企業中包括部分“無證生產”企業,也包括商標無注冊企業。
不合格的18家企業中兩家企業未查到生產許可證,其中微山湖水泥有限公司甚至查不到營業執照。同時,在抽樣檢驗合格的企業中,水泥質量萬里行組委會發現1家無證生產企業,2家生產許可證已過有效期(來源生產許可證辦公室,以實際證書為準)。
三家未查到生產許可證的企業

淄博博奧建材有限公司

微山湖水泥有限公司


臨沂遠明建材有限公司


兩家抽檢合格企業,生產許可證有效期至2020年12月


從上述數據可見,抽檢不合格產品均為單體粉磨站企業,且20個批次不合格產品中僅有一個批次 PC42.5水泥,和一個批次M32.5水泥。
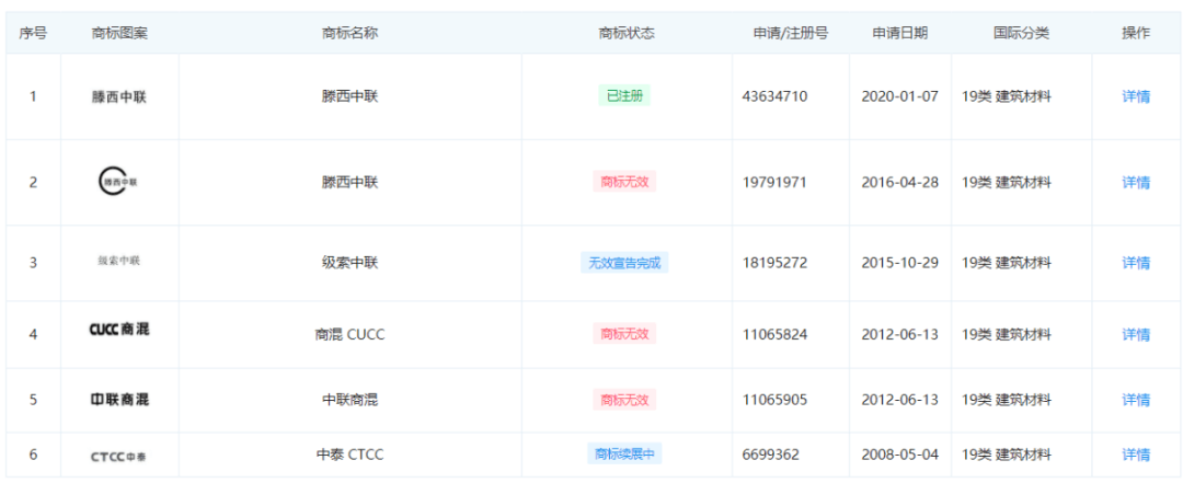
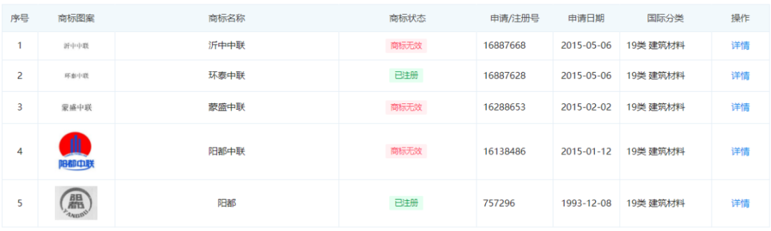
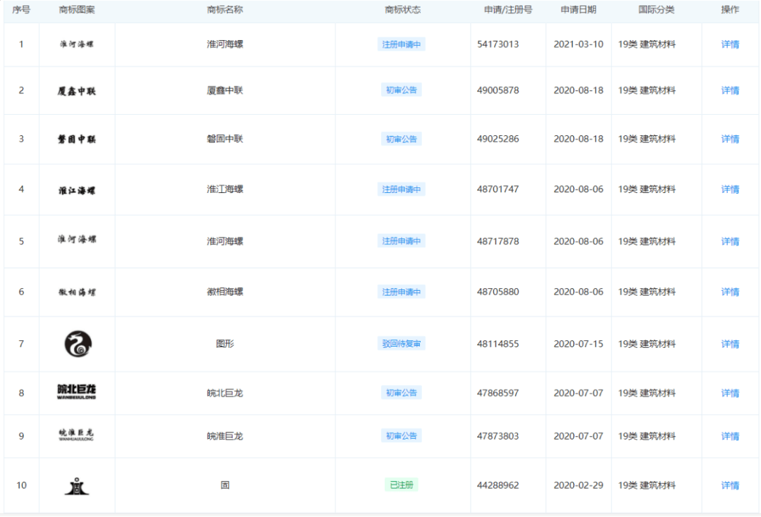
從不合格水泥品牌列表可見有9家企業為“高仿品牌”水泥。8家企業商標均帶有“中聯”字樣,其中5家商標狀態為已注冊3家未注冊。雖注冊為“中聯”卻非中國聯合水泥集團有限公司下屬企業。另一家企業商標中帶有“海螺”字樣,商標為申請注冊過程中,申請日期為上周三(2021年3月10日)也非安徽海螺水泥股份有限公司下屬企業。

商標注冊查詢截圖如下(資源來源天眼查) :
莒縣城陽水泥有限公司
浮來山 商標已注冊

棗莊市安泰水泥有限公司
新魯中聯 商標已注冊

蘭陵縣中源建材有限公司
宏大泉山 商標未注冊

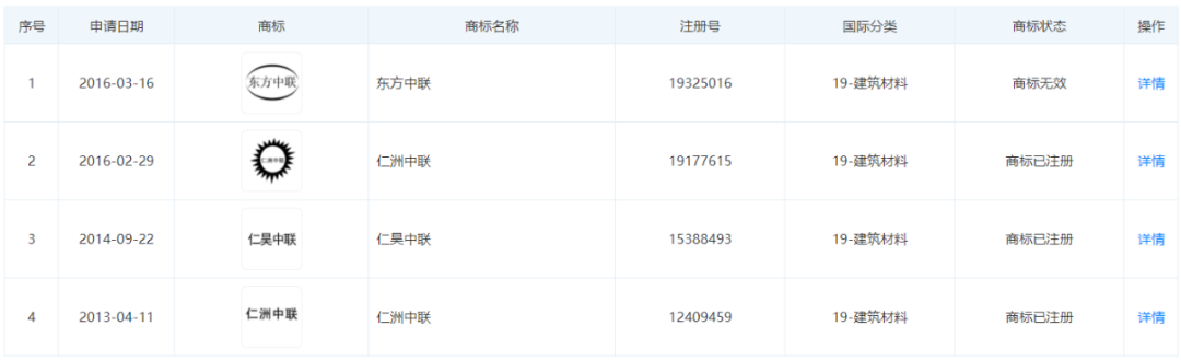
棗莊市仁洲建材有限公司
仁洲中聯 商標已注冊

山東石榴園水泥有限公司
石榴園 商標已注冊

滕州市國泰水泥有限公司
國泰中聯 商標已注冊

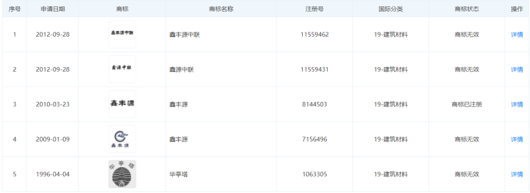
棗莊市鑫源水泥有限公司
鑫豐源 商標已注冊

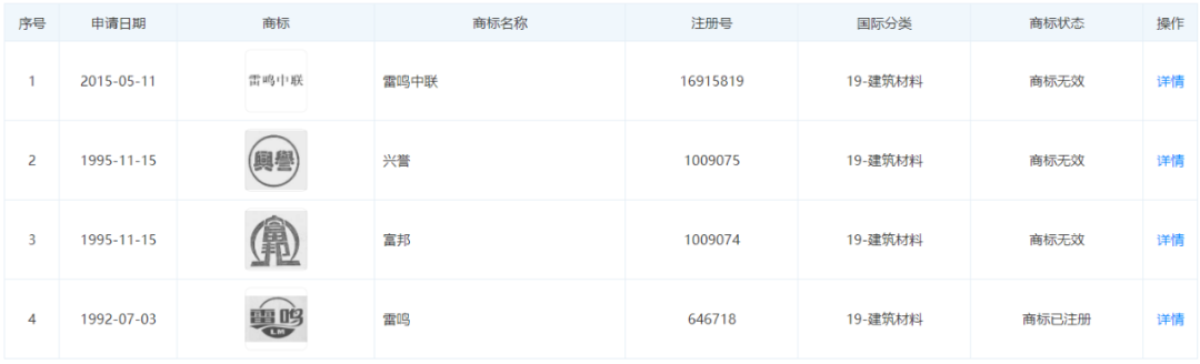
棗莊市雷鳴水泥有限公司
壇山中聯 商標未注冊

安徽省鳳陽縣金鑫水泥廠
永固 商標已注冊

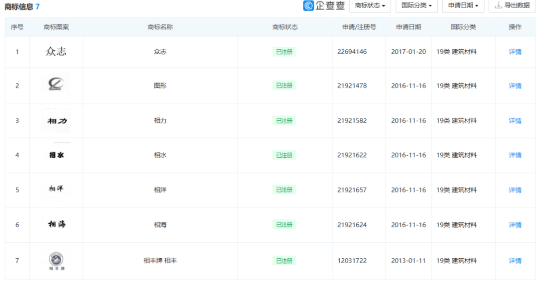
淮北相豐水泥有限責任公司
相豐中聯 商標未注冊

滕州市華聞億達水泥有限責任公司
騰西中聯 商標已注冊

臨沭縣德坤建材有限公司
銀雀山 商標已注冊

臨沂市陽都水泥有限公司
環泰中聯 商標已注冊

山東魯泰建筑工程集團有限公司水泥廠
宏達 商標已注冊

安徽眾聯水泥有限公司 淮河海螺
商標注冊申請中 申請日期2021年3月10日

點擊圖片放大瀏覽
有行業人士表示,不論是送檢還是抽檢都具有唯一性,不能“平均”而論。一批或者一包不合格不能等于全部合格,同樣一批或者一包合格,也不能等同于全部合格。水泥生產更多在乎“良心”了。
在組委會走訪市場的過程中曾遇到過企業被投訴六價鉻不達標后方才知道自己生產了不合格品。企業負責人表示,被投訴后,公司售后部門第一時間聯系到消費者處理相關投訴問題。同時采購了專門檢測六價鉻的設備用于檢測控制六價鉻。按照大多數企業對六價鉻的管控標準,抽檢到時已經是不合格了,而且已經是末端了。有了專用檢測設備從原材料就開始檢測管控,亡羊補牢,為時不晚。
據水泥人網了解,絕大多數大型集團企業都有嚴格的內控標準,不僅有同部門自檢還有不同部門的互檢,一個環節檢驗不通過便直接卡在那個程序不會流入下一個環節。同樣在出廠檢驗時,化驗室會做批次抽檢,以此來控制水泥產品的質量不致于流入市場不合格品。


